Trước 30/04/1975, Bến xe Miền Tây có tên gọi là Xa cảng miền Tây. Sau ngày miền Nam hoàn toàn giải phóng, tháng 07/1975, Cục Vận tải đường Bộ thành lập Ban quản trị và đổi tên thành Bến xe Miền Tây, với diện tích mở rộng khoảng 39.000m².
Năm 1976, Cục Vận tải đường bộ giao Bến xe Miền Tây lại cho Sở Giao thông Vận tải Thành phố Hồ Chí Minh quản lý; theo đó, Bến xe Miền Tây là đơn vị trực thuộc Công ty xe khách liên tỉnh Miền Tây do Sở Giao thông Vận tải thành lập.
Ngày 03/12/1992, theo Quyết định số 159/QĐ-UB, của UBND Thành phố Hồ Chí Minh (UBND), Bến xe Miền Tây được chuyển thành Doanh nghiệp Nhà nước thuộc UBND Thành phố Hồ Chí Minh. Ngành nghề kinh doanh chủ yếu là khai thác và kinh doanh bến xe, đại lý và các dịch vụ khác.
Ngày 11/07/1997, theo Quyết định số 3545/QĐ-UB-KT-CN, Bến xe Miền Tây được chuyển thành Doanh nghiệp Nhà nước hoạt động công ích thuộc Sở Giao thông Công chánh.
Ngày 15/07/2004, theo Quyết định số 172/2004/QĐ-UB, Bến xe Miền Tây được chuyển từ Sở Giao thông Công chánh sang Tổng Công ty Cơ khí Giao thông Vận tải Sài Gòn quản lý, thí điểm theo mô hình Công ty mẹ - Công ty con, với diện tích là 47.392,4m2.
Ngày 08/04/2005, theo Quyết định số 1552/QĐ-UB, Bến xe Miền Tây được UBND Thành phố Hồ Chí Minh chọn để xây dựng đề án chuyển đổi thành Công ty cổ phần và ngày 31/08/2005, UBND Thành phố Hồ Chí Minh đã có Quyết định số 4552/QĐ-UB về giá trị doanh nghiệp Cổ phần hóa của Bến xe Miền Tây.
Ngày 21/10/2005 UBND Thành phố Hồ Chí Minh đã có Quyết định số 5403/QĐ-UBND về phê duyệt phương án và chuyển Bến xe Miền Tây thành Công ty Cổ phần Bến xe Miền Tây.
Ngày 03/05/2006, Công ty Cổ phần Bến xe Miền Tây chính thức đi vào hoạt động theo Giấy phép kinh doanh số 4103004698 do Sở Kế hoạch Đầu tư Thành phố Hồ Chí Minh cấp.
Ngày 17/9/2010, Công ty Cổ phần Bến xe Miền Tây chính thức được niêm yết trên Sở Giao dịch Chứng khoán Hà Nội.
Ngành nghề kinh doanh của Công ty:
Khai thác và kinh doanh bến xe, vận tải hành khách công cộng liên tỉnh và nội địa, khai thác dịch vụ phục vụ trong bến xe, khai thác kinh doanh vận chuyển hành khách tham quan du lịch liên tỉnh và nội địa. Cho thuê mặt bằng và kiốt, bãi đậu xe vận tải hàng hóa. Giữ và chuyển hàng hóa, hành lý, bao, gói. Mua bán phụ tùng vật tư, ô tô, xăng dầu. Lau rửa, bảo dưỡng, sửa chữa ô tô. Dịch vụ vui chơi giải trí, cho thuê nghỉ trọ. Dịch vụ bốc xếp hàng hóa và lưu đậu qua đêm của phương tiện vận tải.
Hiện nay, Bến xe có các tuyến liên tỉnh: 5 tỉnh ĐBSCL: An Giang, Cần Thơ, Cà Mau, Đồng Tháp; 2 tỉnh Đông Nam Bộ: Tây Ninh, Đồng Nai; 3 tỉnh Tây Nguyên: Đắk Lắk, Lâm Đồng, Gia Lai: 5 tỉnh Miền Trung: Quảng Ngãi, Khánh Hòa, Nghệ An, Đà Nẵng, Thành phố Huế; 1 tỉnh Miền Bắc: Hưng Yên. Đồng thời, có 1 tuyến nội tỉnh: Thành phố Hồ Chí Minh.
Chính sách chất lượng của Công ty:
Luôn duy trì và nâng cao sự tín nhiệm của khách hàng và đối tác; trân trọng ghi nhận sự đóng góp không ngừng của tất cả cán bộ công nhân viên công ty.
Phương châm "AN TOÀN - VĂN MINH - HIỆN ĐẠI".
Tổng số CB - CNV Bến xe Miền Tây hiện đang là 154 người. Trong đó:
- Ban Tổng Giám đốc: 02
- Phòng Tổ chức Hành chính: 15
- Phòng Kế toán Tài chính: 11
- Phòng Điều hành: 28
- Phòng Kinh Doanh Dịch vụ: 47
- Phòng Bảo vệ: 39
- Phòng Công nghệ và Quản lý chất lượng: 12
Ngoài ra, Hội đồng Quản trị: 05 người (trong đó có 02 thành viên chuyên trách, 02 thành viên không chuyên trách và 01 thành viên độc lập). Ban kiểm soát: 03 người (trong đó có 01 Trưởng ban và 02 thành viên).
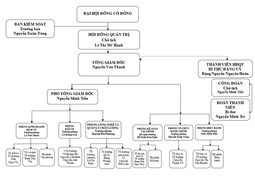
SƠ ĐỒ TỔ CHỨC CỦA CÔNG TY

Vốn điều lệ hiện nay của Công ty là 30.000.000.000 đồng, trong đó, phần vốn sở hữu của Nhà nước chiếm 51%.
Thông tin liên lệ:
- Tên công ty: CÔNG TY CỔ PHẦN BẾN XE MIỀN TÂY.
- Tên viết tắt: BẾN XE MIỀN TÂY.
- Tên giao dịch quốc tế: WEST COACH STATION JOINT STOCK COMPANY
- Trụ sở văn phòng: 395 Kinh Dương Vương - Phường An Lạc - Thành phố Hồ Chí Minh.
- Số điện thoại: 19007373
- Địa chỉ email: tchc.vanthu@gmail.com